光譜共焦傳感器用于陶瓷材料外觀檢測
- hypersenadmin
新型陶瓷在耐高溫、耐腐蝕、耐磨損、超硬性、超導性,遠比傳統陶瓷、現存的金屬或非金屬材料優越;新型陶瓷還具有光敏、氣敏、熱敏、濕敏、壓電等性能,在人工智能領域材料制作上具備獨特的優勢,被廣泛應用于半導體封裝行業中。

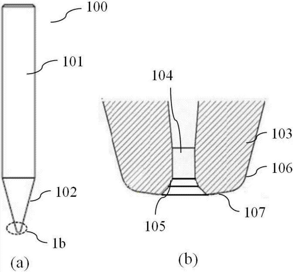
以陶瓷劈刀為例,作為IC封裝行業的消耗品,其被譽為“精密陶瓷行業的寶藏”,主要應用是安裝在鍵合機上用引線鍵合的方式鍵合焊點。陶瓷劈刀以其低成本優勢獨占了芯片和基板電路連接90%以上的市場!未來銅線勢必替代金線成為主要健合線,因此,陶瓷材料的改進和表面粗糙度制作方法將成為其中的關鍵。一般選擇陶瓷劈刀的最佳內孔徑是金線直徑的1.4倍,而市面上很多微電子鍵合金線,直徑小到1μm—3μm。因此,在生產制造環節上就需要極其精密的在線測量,通常企業會選擇使用精密光學傳感器完成檢測工作。海伯森點光譜共焦位移傳感器單通道模式下能夠實現最快72000次/秒的超高速測量,最多支持四通道同步測量,提高速度,降低成本。另外,這款用于陶瓷劈刀檢測的光譜共焦傳感器最小光斑為1.4μm,適合測量精密陶瓷等微小幾何結構和輪廓變化。

————————————————————————————————
更多傳感器產品,請咨詢海伯森技術,專業國產傳感器研發生產公司,專注精密測量、3D測量領域,致力于建立一流的高端智能傳感器品牌。
公司主營:3D閃測傳感器、3D線光譜共焦傳感器、點光譜共焦傳感器、激光對刀儀、超高速工業相機、六維力傳感器、激光對針傳感器等









